|
br>
正弦式交变电流<-->电动势的最大值
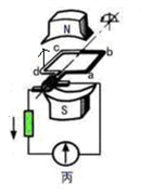
交流发电机原理 线圈在中性面位置时的特点:线圈平面与磁场方向垂直,穿过线圈的磁通量最大,但磁通量变化率为零,感应电动势为零。 线圈平面垂直于中性面时的特点:线圈平面与磁场方向平行,穿过线圈的磁通量为0,但磁通量变化率最大,感应电动势最大。 详解:如图所示,线圈平面垂直于磁感线(甲、丙、戊图),ab、cd边此时速度方向与磁感线平行,线圈各边均不切割磁感线,线圈中没有感应电动势,没有感应电流。
   如图所示,当线圈平面逆时针转动位于(乙、丁图)时,即线圈平面与磁感线平行时,ab、cd边的线速度方向都跟磁感线垂直,即两边都垂直切割磁感线,这时感应电动势最大,线圈中的感应电流也最大。
 
正弦式交变电流<-->电动势的最大值
全网搜索"交流发电机原理"相关
|